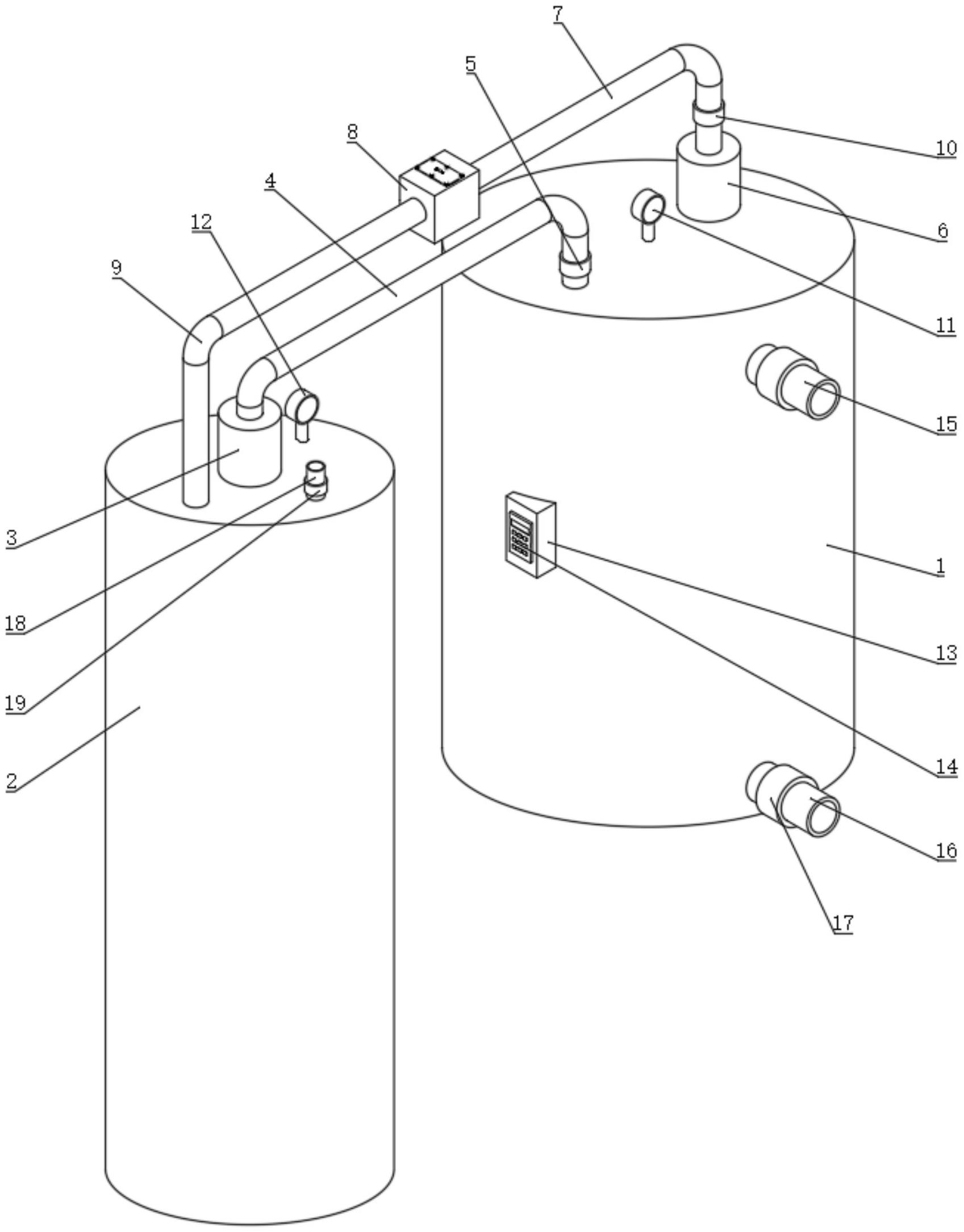
根据专利摘要显示,为解决现有电池固态电解质易在界面处发生副反应,增加界面阻抗,影响电池充放电性能的问题,本发明提供了一种固态电解质及其制备方法、电池及用电装置,固态电解质包括无机固态电解质层和复合电解质层,所述复合电解质层包括聚合物电解质基底膜和填料,所述填料分布于所述聚合物电解质基底膜中;

图片来源于网络,如有侵权,请联系删除
所述填料包括氧化物固态电解质、硫化物固态电解质、卤化物固态电解质中的一种或多种;所述无机固态电解质层包括氧化物固态电解质、硫化物固态电解质、卤化物固态电解质中的一种或多种。

图片来源于网络,如有侵权,请联系删除
图:国际知识产权局

图片来源于网络,如有侵权,请联系删除
近年来,广汽集团在固态电池领域持续深耕。
2023年11月,广汽集团在广州车展上宣布了全固态电池技术的重大突破,该技术以高安全和大容量为特点,并计划于2026年实现量产,昊铂品牌将率先采用。
当时,广汽集团总经理冯兴亚指出,公司已将固态电池等关键技术列入攻关重点,其中固态电池电芯能量密度可达400Wh/kg,满足极端环境下的安全性与可靠性要求。
同年11月,广汽埃安实验室完成固态电池界面改性技术试验验证,并公布相关技术突破,该技术能将固态电池寿命衰减降低50%,在150周循环后,电池容量保持在90%以上。
2024年2月5日,广汽埃安昊铂品牌宣布全固态电池研发取得新进展,能量密度从300Wh/kg提升至350Wh/kg。4月12日,广汽展示了其全固态电池技术,该电池采用100%固态电解质,能量密度超过400Wh/kg,续航能力超过1000公里。
2024年12月18日,广汽集团宣布推出全新的飞行汽车品牌“高域”,并发布了该品牌下的第二款飞行汽车产品——GOVY AirJet。
这款飞行汽车具有200公里的飞行续航能力,并能在30分钟内完成快速充电。广汽表示,未来它将搭载广汽自主研发的全固态电池,预计飞行续航可达到400公里。
天眼查资料显示,广州汽车集团股份有限公司,成立于1997年,位于广州市,是一家以从事汽车制造业为主的企业。企业注册资本1023249.7472万人民币。
